18229768922

行业新闻

城市生命线系统解决方案供应商 为韧性、智慧城市建设赋能

中国标准走出去,看新光智能参编的国际标准ISO37170的“前世今生”

时间:2021-05-10 来源:原创 浏览量:4234

前言:在住房和城乡建设部标准主管部门指导下,全国智能建筑及居住区数字化标准化技术委员会(SAC/TC426)(以下简称“全国智标委”)牵头推动《数字化城市管理信息系统》系列国家标准通过ISO/TC268/SC1推动上升为国际标准——《城市治理与服务数字化管理框架与数据》(ISO37170)。目前该标准已经进入委员会草案(CommitteeDraft;CD)投票阶段,预计2022年完成该项国际标准的发布。在国际标准舞台讲好中国城市管理故事,实现了工程建设领域标准走出去。
前世:数字化城市管理模式助力城市实现管理信息化



数字化城市管理,通俗来讲就是指用信息化手段和移动通信技术手段来处理、分析和管理整个城市的所有城管部件和城管事件信息,促进城市管理的现代化的信息化措施。住房和城乡建设部(原建设部)自2005年开始在全国推广数字化城市新模式以来,数字化城市管理模式实现了城市管理从粗放到精细、从静态到动态、从开环到闭环、从分散到集中的转变,全面提高了城市管理水平。


为了规范数字化城市管理信息系统的建设与运行,推进城市管理数字化、精细化,加快数字化城市管理向智慧化升级,提高城市管理和公共服务的水平与效率,住房和城乡建设部制定《数字化城市管理信息系统》(GB/T30428)系列国家标准。2013年,由全国智标委归口管理,北京市东城区城市监督管理中心等单位起草的《数字化城市管理信息系统第1部分:单元网格》和《数字化城市管理信息系统第2部分:管理部件和事件》正式发布,此后2016年至2020年《数字化城市管理信息系统》系列标准相继发布实施。


国产AV麻豆MAG剧集


(《数字化城市管理信息系统》系列国家标准第9、10部分编制启动会)


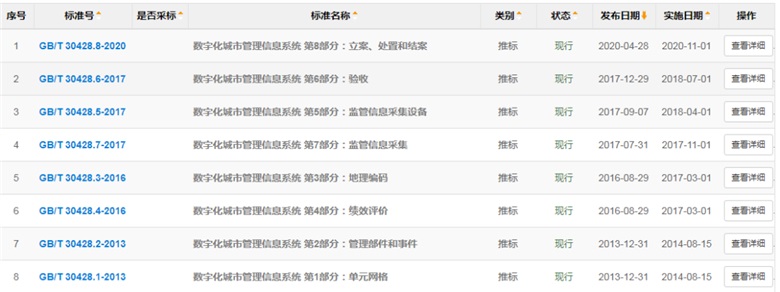
当前,《数字化城市管理信息系统》系列国家标准包括:单元网格,管理部件和事件,地理编码,绩效评价,监管信息采集设备、验收,监管信息采集,立案、处置和结案,系统设置,社会监督信息受理10个部分。数字化城市管理模式已在全国400多个市、县进行了应用,为促进城市高效、安全、和谐发展发挥了重要作用,具备了成熟的实践经验与理论成果。

国产AV麻豆MAG剧集



初生:标准走出去,践行“一带一路”倡议




为了让《数字化城市管理信息系统》系列国家标准走出去,践行“一带一路”倡议,以标准工作助力中国国际影响力提升,输出更多中国优质实践成果,在国际上赢得更多话语权。从2018年ISO/TC268城市可持续发展技术委员会全会及工作组会议上提出提案开始,中国领导、专家团队在国内、国际积极推动该标准的立项工作,该标准经过近两年的研究、汇报、完善,并通过成员国投票,于2019年10月15日召开的ISO/TC268秋季工作会议上获得立项,编号为ISO37170。


国产AV麻豆MAG剧集



(2019年ISO/TC268秋季工作会议)


2019年末,全国智标委完成标准参编单位征集工作,住房和城乡建设部标准定额研究所、中外建设信息有限责任公司、中城智慧(北京)城市规划设计研究院有限公司、北京数字政通科技股份有限公司、国泰新点软件股份有限公司、厦门美亚柏科信息股份有限公司、青岛海纳云科技控股有限公司为提案单位。


国产AV麻豆MAG剧集-公妇借种林娇H-女性左腿叉开腿肚子中间疼视频-国产熟妇久久777777-杨贵妃颤抖双乳呻吟求欢、深圳力维智联技术有限公司、福建汇川物联网技术科技股份有限公司、成都小步创想慧联科技有限公司、紫光软件系统有限公司、武汉市公用电子工程有限责任公司、北京国研数通软件技术有限公司、贵州睿信科技服务有限公司、中建科技有限公司、青岛亿联信息科技股份有限公司、安徽省宁国市住房和城乡建设局、北京市标准化研究院、珠海市住房和建设信息中心、常州市城市管理局、成都市城市管理数字化监督管理中心、太原市数字化城乡管理指挥中心、深圳市龙华区政务服务数据管理局、深圳市标准技术研究院、北京市城市管理综合行政执法局科技信息中心为参编单位。


2020年5月15日,在ISO/TC268/SC1、住房和城乡建设部主管部门的支持下,全国智标委在线上组织召开了ISO37170国际标准编制启动会,与会领导、专家谈到:ISO37170是中国《数字化城市管理信息系统》系列国家标准走向国际化的直接体现,是中国城市管理智慧化成果输出国际的重要渠道,《数字化城市管理信息系统》系列国家标准在国内指导和验收了400多个市、县数字化城市管理信息系统的建设工作,要将中国的数字化城市管理模式建设成果作为一张名片推向国际化。


现今:通力合作,共推国际标准ISO37170进入CD阶段




经过多次编制工作会、专家研讨、标准修改在国家标准化管理委员会、住房和城乡建设部标准主管部门的支持下,在全国智标委、各提案单位、参编单位的通力合作下,ISO37170国际标准已经进入委员会草案(CommitteeDraft;CD)投票阶段,预计2022年完成该项国际标准的发布。


国际标准ISO37170草案中规定的城市治理与服务技术综合运用现代数字信息技术,以数字地图和单元网格划分为基础,集成基础地理、地理编码。市政及社区服务部件事件的多种数据资源,以城市监管员和市民服务热线为信息收集渠道,创建城市治理和市民服务综合指挥系统,通过多部门信息共享、协同工作,构建起沟通快捷、责任到位、处置及时、运转高效的城市治理与服务的监督和处置机制,全面提高城市治理和服务水平。


国际标准ISO37170草案中技术内容涉及城市治理与服务数字化建模和技术平台要求,包括城市单元网格划分与编码规则、部件和事件分类、地理编码与绩效评价、信息采集与处置等,适用于开展数字化城市治理服务平台的设计、建设、运维等。

未来:参与国际标准化治理,赢得国际话语权




“中国标准”的成色代表着中国经济的质量,“中国标准”走出去正是代表着中国实力的提升。


国产AV麻豆MAG剧集


国家标准化管理委员会正式发布的《2021年全国标准化工作要点》提出:要提升标准国际化水平,加快构建推动高质量发展的标准体系,为“十四五”开好局起好步提供有力支撑。在推进标准制度型开放方面,重点提出要积极参与国际标准化治理。进一步优化和完善企业参与国际标准化活动渠道,推动构建政府引导、企业主体、产学研联动的国际标准化工作新局面。


从数字化城市管理到城市综合管理,从中国标准到国际标准,彰显了中国城市治理水平、中国经济质量、中国国际影响力的稳步提升。全国智标委,以标准工作践行“一带一路”倡议,输出更多中国优质实践成果,在国际上赢得更多话语权。2021年,“十四五”开局之年,让我们携手与共、前行不止,开启全面建设社会主义现代化国家新征程!





推荐产品

Copyright © 2023 国产AV麻豆MAG剧集-公妇借种林娇H-女性左腿叉开腿肚子中间疼视频-国产熟妇久久777777-杨贵妃颤抖双乳呻吟求欢    营业执照查阅   网站地图    湘ICP备17002861号-1
技术支持:竞网智赢

手机咨询

18229768922

微信咨询

微信咨询

微信咨询

手机端

手机站二维码

手机站二维码

返回顶部

微信客服

扫一扫咨询微信客服

联系我们:18229768922