

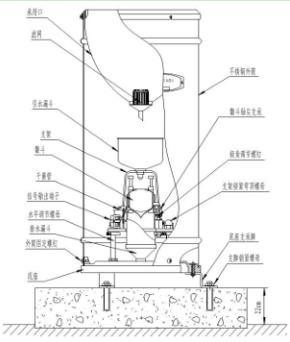
当翻斗内的雨水达到一定的量(一般为 0.1 - 0.5 毫米的降水量,这个量可以根据仪器的设计规格有所不同)时,翻斗失去平衡而翻转。
翻斗翻转时,会将其中的雨水倒出,同时另一个翻斗开始承接雨水。翻斗每翻转一次,就会触发一个信号装置,如干簧管或光电传感器等。
信号装置会将翻斗翻转的次数记录下来,通过仪器内部的计算装置,根据翻斗的容量和翻转次数来计算降雨量。例如,如果翻斗的容量是 0.2 毫米降水量,翻转了 10 次,那么降雨量就是 2 毫米。

扫一扫咨询微信客服